Пропонований пристрій дозволяє перейти від релейного принципу управління вентилятором системи охолодження двигуна «температура вище норми - включений, нижче норми - вимкнений» до більш, на думку автора, сприятливому для двигуна пропорційного управління. Тепер з ростом температури охолоджуючої рідини частота обертання ротора вентилятора лінійно збільшується.
Сьогодні в багатьох автомобільних двигунах вентилятор охолодження має електричний привід, але керують їм в більшості випадків по релейного принципу. Таке управління має тільки одна перевага - простоту реалізації. Досить мати датчик температури з контактним виходом, безпосередньо або через проміжне реле керуючий електродвигуном вентилятора.
Основний недолік цього методу - різке зниження температури охолоджуючої рідини на виході радіатора після включення вентилятора. Працюючий на повну потужність вентилятор знижує температуру охолоджуючої рідини на виході радіатора на 15 ... 25 ° С і більше. Поступаючи в сорочку охолодження двигуна, істотно охолоджена рідина завдає термоудар по гарячих поверхонь, що негативно позначається на роботі двигуна. Для його комфортної роботи температуру охолоджуючої рідини бажано підтримувати близькою до оптимальної, рекомендованої заводом-виробником, а різкі скачки температури (термоудара) повинні бути виключені в принципі.
На частині автомобілів, що мають механічний привід вентилятора охолодження, це досягнуто з'єднанням вентилятора з колінчастим валом двигуна через вискомуфту. Вона змінює переданий на вал вентилятора крутний момент в залежності від температури охолоджуючої рідини. Це стабілізує температурний режим.
Пропонований пристрій є електронний аналог віськомуфти для вентилятора з електричним приводом. Воно автоматично регулює частоту його обертання в залежності від температури охолоджуючої рідини.
Пристрій працює від бортсети автомобіля при напрузі в ній 10 ... 18 В і може керувати вентилятором з максимальним споживаним струмом до 20 А або до 30 А за умови збільшення площі тепловідведення силових елементів. Власне споживання струму пристроєм не перевищує декількох міліампер. Значення температури включення вентилятора з мінімальною частотою обертання і температури, при якій частота обертання вентилятора досягає максимуму, задають з дискретністю 0,1 ° С при програмуванні мікроконтролера.
При відмові датчика температури охолоджуючої рідини пристрій переходить в аварійний режим, що дозволяє безпечно для двигуна доїхати до ремонтної майстерні.
Схема пристрою зображена на рис. 1. вимірює температуру цифровий датчик DS181B20 (ВК1). Застосування цього датчика дозволяє відмовитися від калібрування виготовленого пристрою і покращує його повторюваність.

Мал. 1
Інформацію про температуру зчитує з датчика мікроконтролер ATtiny2313A-PU (DD1), який тактується імпульсами частотою 1 МГц від внутрішнього RC-генератора. Пропорційно температурі він регулює напруга живлення двигуна вентилятора і, отже, частоту обертання його ротора. На двигун надходить імпульсна напруга, постійна складова якого, визначає частоту обертання, залежить від коефіцієнта заповнення (відношення тривалості імпульсів до періоду їх повторення). Коефіцієнт заповнення програма задає восьмирозрядних двійковими числами, що завантажуються в регістр порівняння працюючого в режимі ШІМ таймера мікроконтролера.
Сформовані мікро контролером імпульси управляють роботою силового ключа на польовому транзисторі VT1, замикає і розмикає ланцюг живлення двигуна вентилятора від бортової мережі автомобіля. При цьому постійна складова прикладеної до двигуна напруги дорівнює 
де U0 - напруга в бортсети, В; N - число, завантажене в регістр мікроконтролера. Її можна змінювати з кроком 
При напрузі в бортсети 12 В ΔU = 0,05 В, що дозволяє регулювати частоту обертання вентилятора практично плавно.
Для забезпечення надійної роботи ключового транзистора VT1 в перехідних режимах мікроконтролер управляє ним через драйвер ТС4420ЕРА (DA1). Сучасні польові транзистори, маючи дуже малий опір відкритого каналу (одиниці міліом), здатні комутувати значний струм навіть без застосування тепловідведення. Однак велика вхідні ємність польового транзистора, яка доходила у потужних приладів до декількох тисяч пикофарад, в процесі його перемикання заряджається і розряджається. Це займає тим більше часу, чим більше вихідний опір джерела сигналу, що управляє.
Погано те, що в процесі перезарядки ємності польовий транзистор знаходиться в активному режимі і опір його каналу досить велика. Тому за час перемикання в кристалі транзистора виділяється значна потужність, що може привести до його перегріву і незворотного пошкодження. Єдиний спосіб боротьби з цим явищем - прискорення процесу перезарядки. Для цього польовими транзисторами управляють через спеціалізовані підсилювачі (драйвери), що мають низький вихідний опір і забезпечують великий (до декількох ампер) імпульсний зарядно-розрядний струм. Це забезпечує швидку перезарядку вхідний ємності польового транзистора і, отже, мінімізує тривалість його роботи в активному режимі і знижує рассеиваемую на ньому потужність.
Резистор R4 підтримує на вході драйвера низький логічний рівень напруги під час запуску мікроконтролера, поки всі його виходи залишаються в високоімпедансних стані. Це виключає непотрібне в цей час відкривання транзистора VТ1. Діод VD1 усуває імпульси ЕРС самоіндукції, що виникають в обмотках двигуна вентилятора в моменти закривання транзистора VТ1.
Під час роботи програма мікроконтролера постійно стежить за наявністю і працездатністю датчика температури. Якщо зв'язку з ним немає, вона переходить в аварійний режим роботи. В цьому режимі незалежно від температури охолоджуючої рідини вентилятор на 33 с буде включений на повну потужність, а потім на такий же час вимкнений. Звичайно, це далеко не оптимальний варіант охолодження двигуна, але він запобігає його повна відмова під час відсутності охолодження. Про перехід в аварійний режим сигналізує включення світлодіода HL1. Якщо порушення зв'язку з датчиком було тимчасовим, після її відновлення пристрій переходить в нормальний режим роботи.
У програму мікроконтролера для керування вентилятором закладені у вигляді констант наступні вихідні дані:
- Тmin = 87 - температура охолоджуючої рідини, ° С, при якій вентилятор повинен починати працювати з мінімальною частотою обертання;
- Тmax = 92 - температура охолоджуючої рідини, ° С, при якій частота обертання вентилятора повинна досягти максимального значення;
- N1 = 70 - значення завантажується в регістр порівняння таймера коду, що забезпечує обертання ротора вентилятора з мінімальною частотою.
Як відомо, промислові датчики, призначені для управління роботою вентиляторів охолодження, мають два основних параметри - температуру включення і температуру виключення. Їх і слід вибрати в якості Тmax і Тmin. Значення N1 потрібно задати таким, при якому постійна складова напруги на двигуні вентилятора дорівнює напрузі його зворушення Uтр.
Проблема в тому, що напруга зрушення не прийнято вказувати в технічних даних вентиляторів, тому знайти в літературі або в документації значення цього параметра автору не вдалося. Його довелося визначати експериментально. Методика проста - подаючи напругу на двигун, знайти його значення, при якому вал почне повільно (оборот за одну-дві секунди), але стійко обертатися. Для більшості двигунів постійного струму з номінальною напругою живлення 12 В напруга зрушення лежить в межах 3 ... 5 В.
При запуску програми мікроконтролер на підставі значень Тmax, Тmin і N1 розраховує Dn - необхідну крутизну залежності значення завантажується регістр порівняння таймера коду від температури: 
Потім починається головний цикл програми. Перш за все, відбувається перевірка зв'язку з датчиком температури, а при її відсутності - перехід в аварійний режим роботи. Таку перевірку програма виконує кожну секунду. Якщо чергова перевірка показує, що датчик працює, відновлюється нормальний режим роботи.
Коли датчик справний, він вимірює поточну температуру охолоджуючої рідини Т. Якщо вона нижче Тmin, програма вимикає вентилятор, в іншому випадку обчислює необхідне значення керуючого коду за формулою 
Пропорційно йому будуть встановлені коефіцієнт заповнення живить двигун напруги і, отже, частота обертання його ротора. В результаті температура охолоджуючої рідини при незмінному навантаженні на двигун підтримується постійною. При змінному навантаженні температура коливається в невеликих межах всередині інтервалу Тmin ... Тmax.

Мал. 2
Всі деталі пристрою, за винятком датчика ВК1 і світлодіода HL1, розміщені на друкованій платі розмірами 58 × 65 мм, креслення якої показаний на рис. 2, а розташування елементів - на рис. 3.

Мал. 3
Мікросхеми впаяні безпосередньо в плату без панелей, застосування яких в умовах підвищеної вібрації небажано. На платі є невідображені на схемі контактні площадки SCK, RST, VCC, MISO, MOSI, GND, до яких на час програмування мікроконтролера припаюють однойменні дроти від програматора. При цьому плату і програматор під час програмування слід живити напругою +5 В (VCC) від одного джерела.
Плата розрахована на установку резисторів і конденсаторів типорозміру 1 206 для поверхневого монтажу. Діод SR2040 (URL: http://files.rct.ru/pdf/diode/5261755198365.pdf (27.06.16)) - в двохвивідною корпусі Т0220АС. Разом з транзистором IRF3808 він закріплений із застосуванням теплопровідної пасти на загальному тепловідведення з площею охолоджуючої поверхні близько 60 см2.
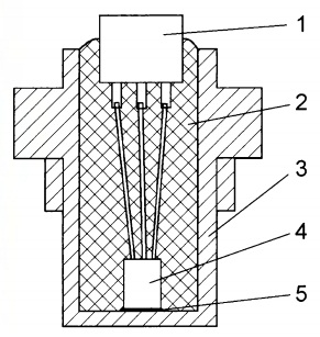
Принцип кріплення транзистора 5 або діода до теплоотводу 1 і всього вузла до друкованої плати 2 показаний на рис. 4. Діод ізольований від тепловідведення слюдяною прокладкою, а від кріпить гвинта 4 і металевої втулки 3 - ізоляційною втулкою (ізолюючі елементи на малюнку не показані). Між корпусами діода і транзистора знаходиться третя точка кріплення тепловідведення до плати. Тут він також закріплений гвинтом і втулкою.

Мал. 4
Всі друковані провідники плати, по яких тече струм двигуна вентилятора, повинні бути покриті шаром припою товщиною не менше 0,7 ... 1 мм, а перетин підвідних дротів повинен забезпечувати пропускання цього струму.
Світлодіод HL1 доцільно винести в салон автомобіля, щоб водій мав оперативну інформацію про поточний режим роботи пристрою.
Датчик DS18B20 (ВК1) слід помістити в корпус від штатного контактного датчика температури охолоджуючої рідини, з якого попередньо слід видалити всю «начинку». Такий корпус можна і виточити з латуні зі збереженням габаритних і приєднувальних розмірів. Розміщення датчика DS18B20 в корпусі показано на рис. 5. Датчик 4 з припаяним до його висновків роз'ємом 1 поміщають в порожнину корпусу 3 так, щоб його верхівка, на яку нанесений шар теплопровідної пасти 5, стосувалася дна порожнини. Після цього порожнину заливають термостійким герметиком 2.

Мал. 5
Роз'єм 1 повинен мати антикорозійне покриття контактів, бути бризгозащіщённим, надійно фіксувати відповідну частину, не допускаючи її відстиковки під дією вібрації. Підготовлений датчик встановлюють на місце штатного.
Зібрана плата поміщена в корпус відповідних розмірів, який розміщений в моторному відсіку автомобіля. У корпусі передбачені вентиляційні отвори.
Мікроконтролер ATtiny2313A може бути замінений іншим сімейства AVR, які мають як мінімум один 8-розрядний і один 16-розрядний таймер і не менше 2 Кбайт програмної пам'яті. Природно, заміна мікроконтролера потребують перекомпіляції програми і, можливо, зміни топології друкованої плати.
Замість неинвертирующего драйвера нижнього плеча ТС4420ЕРА можна використовувати інший подібний, наприклад, МАХ4420ЕРА.
Діод з бар'єром Шотки SR2040 можна замінити аналогічним з допустимим зворотним напругою не менше 25 В і допустимим прямим струмом не менше робочого струму вентилятора. Однак діоди Шотки з зворотною напругою понад 40 В застосовувати не рекомендується, так як більше пряме падіння напруги на такому діоді призведе до зростання тепловиділення.
Заміну польовому транзистору IRF3808 з ізольованим затвором і каналом n-типу слід підбирати з допустимим постійним струмом стоку при температурі 100 ° С в 2,5 ... 3 рази більше робочого струму вентилятора і з опором відкритого каналу при робочому струмі вентилятора до 20 А - не більше 10 мОм, а 20 ... 30 а - не більше 7 мОм. Допустима напруга сток-витік має бути не менше 25 В, а затвор-витік - не менше 20 В.
Правильно зібране з справних деталей пристрій зажадає налагодження тільки в тому випадку, якщо вихідні дані в доданому варіанті програми, про які було сказано раніше, не відповідають необхідним. В цьому випадку їх потрібно відкоригувати в початковому тексті програми, заново відкомпілювати його в середовищі розробки Bascom AVR і завантажити в пам'ять мікроконтролера замість прикладеного до статті файлу Cooler-test.hex отриманий Нех-файл.
Якщо напруга зрушення двигуна вентилятора невідомо, його можна визначити експериментально. Для цього в пам'ять мікроконтролера замість робочої програми потрібно завантажити розроблену мною отладочную програму. У доданому до статті файлі Cooler-test.hex містяться її коди. Конфігурацію мікроконтролера програмують однаково для робочої і тестової програм відповідно до рис. 6, де показано вікно установки конфігурації програматора AVRISP mkll.

Мал. 6
Через 3 с після включення живлення програма Cooler-test починає керувати вентилятором, поступово збільшуючи від 55 до 95 кроками по 5 одиниць код, що задає коефіцієнт заповнення живильного вентилятор імпульсного напруги. Це приблизно відповідає зміні постійної складової цієї напруги від трьох до п'яти вольт. Тривалість кожного ступеня - 10 с, протягом яких вентилятор і світлодіод HL1 включені, і пауза тривалістю 5 с, протягом якої напруга з вентилятора знято, а світлодіод погашений. Про закінчення роботи програми сигналізує серія з п'яти коротких спалахів світлодіода.
Спостерігаючи за світлодіодом, нескладно визначити, на якому щаблі вентилятор почав обертатися, і визначити значення N1, яке слід записати в основну програму.
Роботу пристрою в аварійному режимі перевіряють, відключивши роз'єм від датчика температури. При цьому вентилятор повинен включитися і працювати на повну потужність в переривчастому режимі (33 с - робота, 33 с - пауза). Світлодіод HL1 при цьому повинен світитися. Його бажану яскравість встановлюють підбіркою резистора R3.
програми мікроконтролера
Автор: А. САВЧЕНКО, сел. Зеленоградский Московської обл.
Джерело: Радіо №11, 2016